自1986年以来成立
关于我们
关于我们
遇见我们的团队
我们的历史
服务
服务和维修
机器重新处理
球轴承锭子
产品支持
联系我们
现在给我们打电话
02476 375442
现在给我们打电话
02476 375442
客户服务
0.
询价车
表面研磨机
新表面磨机
使用表面磨床
圆柱形研磨机
新的圆柱磨机
二手圆柱形磨削器
其他机器
新磨刀器
二手磨床
定制机器
CNC改造
机器备件
表面研磨机
新表面磨机
使用表面磨床
圆柱形研磨机
新的圆柱磨机
二手圆柱形磨削器
服务
服务和维修
机器重新处理
球轴承锭子
定制机器
CNC改造
机器备件
关于我们
遇见我们的团队
我们的历史
产品支持
最新消息
联系我们
家
琼斯和船员备件
琼斯和船员1300备件
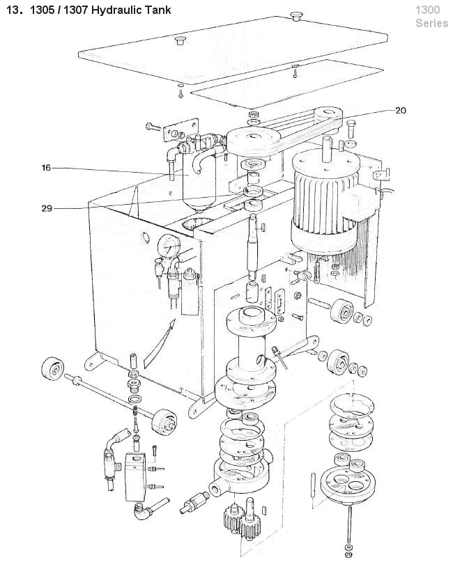
1305/7液压油箱
1305/7液压罐 - 琼斯和船员1300备件
以下项目有库存。
编号。
部分号
部分
16.
494.
滤油器
加入询价篮
20.
Z950
Vee Belt(3 off)
加入询价篮
29.
25142-5016
油封
加入询价篮